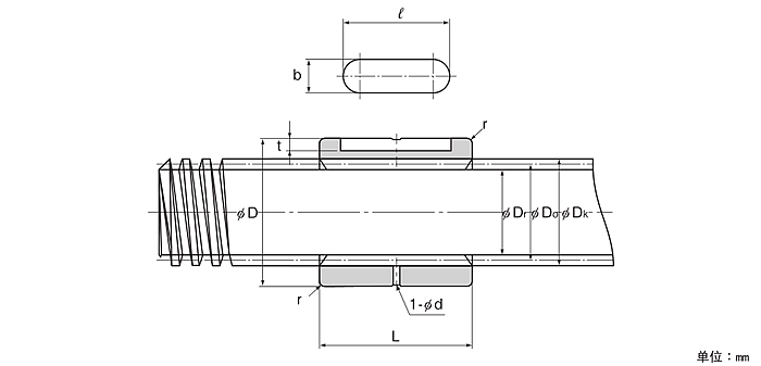
优势特点:日本THK梯形丝杠系列优点:梯形丝杠DCM型和DC型在制造上符合30°梯形螺纹的标准。螺母材料采用特殊合金,并具有精密的外螺纹作为核心部分,经压铸成形。



梯形丝杠DCM型和DC型在制造上符合30°梯形螺纹的标准。螺母材料采用特殊合金,并具有精密的外螺纹作为核心部分,经压铸成形。因此,与由机械加工制造的产品不同,在精度上的偏差较小,为具有高精度和高耐磨损性的轴承。
对于要与其组合使用的丝杠轴,提供滚轧轴作为标准件。
此外,切削丝杠轴和研磨丝杠轴也可根据具体用途制造,详细情况请向THK咨询。

对于梯形丝杠,提供有标准长度的专用滚轧轴。
【提高耐磨损性】
轴齿由冷轧加工成型,齿面加工硬化后硬度超过250HV,然后实施镜面抛光。因此,轴具有高度耐磨损性,当与梯形丝杠配合使用时,可以获得极其平滑的运动效果。
【改善机械性能】
在滚轧轴齿面的内部结构中,沿着齿面轮廓出现纤维流线,从而使得齿根周围的结构变得很紧密,因此可以增加疲劳强度。
【轴端支承座的额外加工】
由于每一根轴都是滚轧成形的,因此轴端的支承座轴承部等的额外加工可以很容易地通过车削或铣削来完成。

梯形丝杠中使用的高强度锌合金是一种具有高度耐焦化性、耐磨损性以及耐负荷性的材料,其成分、机械性能、物理性质和耐磨损性如下表所示。
※ 下述数值为基准值,并非保证值。



















【使用】
(1) 请不要让梯形丝杠掉落或敲击。否则,可能导致划伤、破损。另外,受到了冲击时,即使外观上看不见破损,也可能导致功能的损坏。
(2) 接触产品时,请根据需要使用防护手套、安全鞋等防护用具,以确保安全。
【使用注意事项】
(1) 请注意防止切屑、冷却液等异物的进入。否则可能导致破损。
(2) 在切屑、冷却液、带腐蚀性溶剂、水等可能进入产品内部的环境下使用时,请使用伸缩护罩或防护罩等避免其进入产品内部。
(3) 附着有切屑等异物时,请在清洗后重新封入润滑剂。
(4) 请勿强行将定位部件(销、键等)敲入产品中。否则,可能造成滚动面的压痕,导致功能的损坏。
(5) 若丝杠轴的支撑部和螺母出现偏心或偏移,将极端缩短其使用寿命,请注意安装部品和安装精度。
(6) 要使用于纵轴时,请采取对应措施,如添加防止落下的安全机构等。
(7) 使用梯形丝杠时,请配置LM滚动导轨和滚珠花键等的导向部件进行使用。否则,有可能导致破损。
(8) 安装构件的刚性及精度不足时,轴承载荷在局部集中,造成轴承性能显著降低。同时,关于支承座及底座的刚性·精度、固定螺栓的强度,请进行充分探讨。
【润滑】
(1) 请仔细擦拭防锈油并封入润滑剂后再使用。
(2) 请避免将性状不同的润滑剂混合使用。即使增稠剂相同的润滑脂,由于添加剂等不同,也可能相互之间产生不良影响。
(3) 要在经常产生振动的场所、无尘室、真空、低温或高温等特殊环境下使用时,请使用符合规格•环境的润滑脂。
(4) 润滑产品时,请以行程为单位进行数次跑合,使润滑脂进入产品内部。
(5) 润滑脂的稠度随温度而变化。梯形丝杠的扭矩随稠度而变化,请加以注意。
(6) 加脂后由于润滑脂的搅拌阻力,梯形丝杠的旋转扭矩可能增大。必须进行跑合运转,使润滑脂进行充分跑合后,进行设备运转。
(7) 加脂完成后,多余的润滑脂有可能向周围飞溅,请根据需要进行擦拭。
(8) 润滑脂随着使用时间的增长,性状劣化,润滑性能降低,所以需要根据使用频率点检并补充润滑脂。
(9) 使用条件和使用环境不同润滑时间间隔不同。请根据实际设备,确定最终的加脂时间间隔和加脂量。
(10) 采用油润滑时,有时由于梯形丝杠安装方式的原因,润滑油可能无法到达产品内部各处,设计时请进行充分探讨。
【储存】
存放梯形丝杠时,请将其按照THK的出厂包装的状态下水平存放在室内,并避免高温、低温和高度潮湿的环境。
【废弃】
请将产品作为工业废弃物进行恰当的废弃处理。

配合
梯形丝杠螺母的外径和支承座的配合推荐采用间隙配合。
支承座内径公差∶G7
安装
【有关支承座嘴的倒角】
为了增加梯形丝杠法兰根部的强度,需要将角落处加工为R形。因此有必要对支承座嘴的内角进行倒角。


【安装例】
图2 显示了梯形丝杠的安装例。当安装梯形丝杠时,要充分保证轴向的固定强度。


润滑
梯形丝杠在交货时未涂布润滑油•润滑脂,因此需要在安装轴承后提供适量的润滑油•润滑脂。请根据使用条件选择适合的润滑方法。
【油润滑】
建议对梯形丝杠采用油润滑,特别是油池润滑或滴油润滑法更有效。油池润滑是最适当的方法,因为这种方法可以满足苛刻的条件,例如高速、重负荷或外部热传递,并且使梯形丝杠冷却。滴油润滑适合于中低速度和中轻负荷的情况。请根据 表2 中显示的条件选择润滑油。


【油脂润滑】
在较少使用的低速进给情况下,用户可以定期用手向轴内涂抹油脂或者利用梯形丝杠上的油脂孔进行润滑。建议使用锂皂基润滑脂2号。

DCM12 DCM14 DCM16 DCM18 DCM20 DCM22 DCM25 DCM28 DCM32 DCM36 DCM40 DCM45 DCM50
DC12 DC14 DC16 DC18 DC20 DC22 DC25 DC28 DC32 DC36 DC40 DC45 DC50
上一篇:没有了

















