优势特点:日本THK端面球轴承系列特点:端面球轴承是一个使用球形内环的自动调心滑动轴承,该内环与轴承钢球具有同等精度和硬度。通过将球形内环(其滑动面经过镜面抛光)和以合理方式设计的夹持器相组合,端面球轴承能实现无间隙且极其平滑的旋转与摆动运动。



端面球轴承是一个使用球形内环的自动调心滑动轴承,该内环与轴承钢球具有同等精度和硬度。通过将球形内环(其滑动面经过镜面抛光)和以合理方式设计的夹持器相组合,端面球轴承能实现无间隙且极其平滑的旋转与摆动运动。




























【使用】
(1) 请不要分解各部分。可能导致功能损坏。
(2) 请不要让端面球轴承掉落或者敲击。否则,可能导致划伤、破损。另外,受到冲击时,即使外观上看不见破损,也可能导致功能损坏。
(3) 接触产品时,请根据需要使用防护手套、安全鞋等防护用具,以确保安全。
【使用注意事项】
(1) 使用本产品时,请不要超出容许倾斜角的范围,否则会损坏产品。
(2) 请注意防止切屑、冷却液等异物的进入。否则可能导致破损。
(3) 端面球轴承设计用于径向载荷,请勿在推力负荷的状况下使用此产品。
(4) 请避免在超过80℃的条件下使用。
(5) 安装构件的刚性及精度不足时,轴承载荷在局部集中,造成轴承性能显著降低。同时,关于支承座及底座的刚性·精度、固定螺栓的强度,请进行充分探讨。
【润滑】
(1) 除了无需润滑型外,端面球轴承在使用前应全部经过油脂润滑(推荐使用锂皂基润滑脂2号)。端面球轴承使用前润滑时,请避免将不同的润滑剂混合使用。即使增稠剂相同的润滑脂,由于添加剂等不同,也可能相互之间产生不良影响。此外,使用过程中,必要时也应补充润滑剂。
(2) 要在经常产生振动的场所、无尘室、真空、低温·高温等特殊环境下使用时,请使用与规格·环境相匹配的润滑脂。
【储存】
存放端面球轴承时,请将其在THK的出厂包装的状态下存放在室内,并避免高温、低温和高度潮湿的环境。
【废弃】
请将产品作为工业废弃物进行恰当的废弃处理。

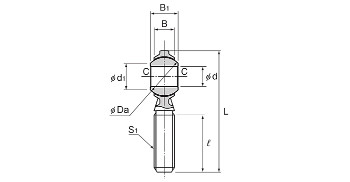
容许倾斜角
各端面球轴承型号的容许倾斜角如相应尺寸表所示。
注) 如果使用角度超过容许倾斜角,有可能会导致夹持器的严重损伤。请务必在容许倾斜角范围内使用端面球轴承。
安装
端面球轴承不能承受如 图1 所示的推力负荷,请加以注意。



【容许载荷P】
在尺寸表中所记载的静态负荷容量(Cs),可作为端面球轴承机械强度的基准。请根据负荷类型考虑在 表1中所示的安全系数(fS)来选择轴承。


【动态负荷容量Cd】
动态负荷容量是指,端面球轴承旋转或摆动时球面部不产生焦化所能承受的负荷大小的极限。动态负荷容量根据尺寸表中所记载的静态负荷容量(CS)(注1) ,按以下的近似公式进行计算。


PHS5 PHS6 PHS8 PHS10 PHS12 PHS14 PHS16 PHS18 PHS20 PHS22 PHS25 PHS30
NHS3T NHS4T NHS5T NHS6T NHS8T NHS10T NHS12T NHS14T NHS16T NHS18T NHS20T NHS22T
POS5 POS6 POS8 POS10 POS12 POS14 POS16 POS18 POS20 POS22 POS25 POS30
NOS3T NOS4T NOS5T NOS6T NHS8T NOS10T NOS12T NOS14T NOS16T NOS18T NOS20T NOS22T
PB5 PB6 PB8 PB10 PB12 PB14 PB16 PB18 PB20 PB22 PB25 PB30
上一篇:没有了
下一篇:没有了
















