优势特点:日本THK直线导轨滑块SVR45RH属于机床用超重载荷导轨,组合高度为70,滑块对称安装孔为60*60。THK直线导轨在使用过程中,滑块内滚珠的磨损要比导轨的磨损快得多,因此滑块的使用寿命要远低于导轨的使用寿命,所以通常将滑块的额定寿命作为直线导轨机构的额定寿命。


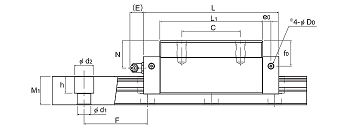
| 型号 | 外形尺寸 | LM滑块尺寸 | H3 | ||||||||||||||||||||||
|
高度 M |
宽度 W |
长度 L |
B | C | S×ℓ | L1 | T | K | N | f0 | E | e0 | D0 | 油嘴 | |||||||||||
| SVR45RH | 70 | 86 | 138.2 | 60 | 60 | M10×17 | 105 | 14.7 | 58.4 | 31.9 | 26 | 16 | 8.5 | 5.2 | B-PT1/8 | 11.6 | |||||||||
| 型号 | LM轨道尺寸 | 基本额定负荷 |
静态容许力矩 kN•m*
|
质量 | |||||||||||
|
宽度W1 ±0 -0.05 |
W2 |
高度 M1 |
孔距 F |
d1×d2×h |
长度 Max |
C kN |
Co kN |
MA | MB | MC | |||||
| 单滑块 | 两个紧靠的轴承套 | 单滑块 | 两个紧靠的轴承套 | 单滑块 |
LM滑块 kg |
LM轨道 kg/m |
|||||||||
| SVR45RH | 45 | 20.5 | 29 | 105 | 14×20×17 | 3090 | 138 | 186 | 2.76 | 13.7 | 1.67 | 8.3 | 3.5 | 3.1 | 9.5 |
日本THK直线导轨SVR45RH的使用维护方法
(1)存放的方法
THK直线导轨SVR45RH属于精密部件,如果以不当的方式存放,有可能引起直线导轨的弯曲变形,所以通常要将导轨放置在水平位置,在导轨下方进行多点支撑。在存放及运输过程中必须轻拿轻放,在使用过程中也不能承受非工作外力的撞击。
(2)防尘的方法
THK直线导轨SVR45RH在滑块的两端设计有防尘装置,防止灰尘进入滑块内部影响滑块精度,如有特殊需要可以在导轨螺钉孔中安装埋栓,在导轨上使用油封板、波纹套管或伸缩护罩。
(3)润滑的方法
THK直线导轨SVR45RH的维护比较简单,主要的维护工作为定期进行润滑。通常的润滑方法是定期(如每个月一次)在导轨表面上涂一层润滑脂,滑块内部的润滑通过专用的润滑脂补充枪施加。润滑脂补充的频率主要按实际使用的运行距离确定,一般情况下每运行100km的距离就需要补充润滑脂。
润滑脂的牌号:一般用锂基润滑脂,也可以按直线导轨机构制造商推荐的牌号采购。
除采用润滑脂进行润滑外,还可以采用润滑油来润滑,但对于像机床等要求重负荷、高刚性、高速度的场合,一般都推荐使用润滑脂来润滑。
THK直线导轨SVR45RH使用也要正确的维护这样可以增加导轨的使用寿命,更利于各种器械的正常运作。
上一篇:SVS35LRH
下一篇:SVS45RH


















